企业融资网 > 互联网金融 > 正文
真假?传朱啸虎清空持有ofo股份套现30亿美元
网络整理 2021-03-22 18:12据媒体动点科技消息,金沙江创投合伙人朱啸虎的妹夫欧成效近日在一次论坛上透露,朱啸虎不久前已把所持的OFO股份全部卖给了阿里巴巴,按ofo估值100亿美元计算,共套现了30多亿美元。
全天候科技就此通过微信向朱啸虎求证,截至发稿前对方尚未回应。
欧成效说法是真的吗?全天候科技查阅发现,“ofo估值100亿美元”、“朱啸虎套现30多亿美元”说法都存在疑点。2017年12月7日,英国《金融时报》援引知情人士说法称,中国共享单车创业公司ofo至少融资10亿美元,投资者包括阿里巴巴等。此轮融资对ofo的估值为30亿美元,基本与竞争对手摩拜单车的估值相同。短短一个月后,ofo估值“跃升”到100亿美元值得怀疑。
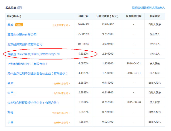
此外,企查查信息显示,朱啸虎旗下的西藏达孜金沙互联创业投资管理有限公司对ofo(北京拜克洛克科技有限公司)持股5.83%,即便按照ofo100亿美元估值出售股份,朱啸虎套现金额也远低于30亿美元。
ofo股东信息来源:企查查
朱啸虎是ofo的早期投资人。2017年6月,他为了给ofo站台不惜与腾讯董事局主席马化腾(腾讯是摩拜的重要投资者)在朋友圈“互怼”,双方在ofo摩拜市场占有率、单车终端智能化问题上产生分歧。
2017年后半年,朱啸虎成为“摩拜ofo合并”的坚定支持者,曾表示,摩拜和ofo两家合并才有可能盈利。两家市场份额差距非常接近,再去拼价格战、拼资本没有任何意义。要有大视野、大格局,战局比较明朗化了,再打消耗战就没有意义了。
据共享单车行业人士分析,目前ofo处于较为被动的局面,2017年10月就传出在启动新一轮融资,至今未有确定的融资消息;而它与大股东滴滴的关系走向破裂,这从滴滴收购小蓝单车部分资产并孵化自有单车品牌可见一斑;更为糟糕的是,ofo投向市面的自行车已经到了大批量更新换代的时间节点。“如果ofo没有新故事,难有新的投资方进入,而ofo希望讲一个切入四轮业务的新故事,但这又与滴滴直接竞争,遭到了滴滴的强烈反对”,该行业人士告诉全天候科技,这是ofo、滴滴反目的主要原因。果真如此的话,精明如朱啸虎着急推动ofo、摩拜合并,或者着急从ofo套现的行为都不足为怪了。
免费加盟代理请联系于经理17601315811(有返佣)

转载请标注:信息网——真假?传朱啸虎清空持有ofo股份套现30亿美元
- 搜索
-
- 2021-04-17 晋商银行去年不良贷款增
- 2021-04-17突发!瑞丽发现阳性样本
- 2021-04-17迪安诊断:新冠肺炎疫情
- 2021-04-17人民币汇率创4个月新低,
- 2021-04-17 四川举办服务台胞台企专
- 2021-04-17深圳拟出公积金新政: 灵
- 2021-04-17银保监会:不得强迫老年
- 2021-04-17 哈银消费金融与360数科达
- 2021-04-17上海青浦新城方案:“十
- 2021-04-17中银证券管涛:人民币升
- 2021-03-21“不刚兑”的诺亚财富因
- 2021-03-21央行行长易纲:小额支付
- 2021-03-21虚拟货币BHB传销案开庭 主
- 2021-03-21上海一集资诈骗案开审:
- 2021-03-21注册资本80亿!巨头坐镇
- 2021-03-21早报:爱钱进代言人汪涵很
- 2021-03-21京东首次回应直播业务:
- 2021-03-21央行定向降准0.5至1个百分
- 2021-03-21小贷公司监管指标再调!
- 2021-03-21财政部:人民群众不会因
- 2021-04-17 晋商银行去年不良贷款增
- 2021-04-17突发!瑞丽发现阳性样本
- 2021-04-17迪安诊断:新冠肺炎疫情
- 2021-04-17人民币汇率创4个月新低,
- 2021-04-17 四川举办服务台胞台企专
- 2021-04-17深圳拟出公积金新政: 灵
- 2021-04-17银保监会:不得强迫老年
- 2021-04-17 哈银消费金融与360数科达
- 2021-04-17上海青浦新城方案:“十
- 2021-04-17中银证券管涛:人民币升
- 网站分类
-
- 标签列表

